Сторінка
1
Потоковою механізованою складально-зварювальною лінією називається комплект устаткування, розташованого в порядку послідовності виконання технологічного процесу і забезпечуючий механізоване виконання основних і допоміжних операцій по виготовленню зварних вузлів, включаючи міжопераційний транспорт. В окремих випадках допускається виконання деяких операцій немеханізованими методами, коли механізація з техніко-економічних міркувань недоцільна.
Механізовані й автоматичні лінії зварювального виробництва забезпечують коефіцієнт продуктивності від 4 до 12 і рівень комплексної механізації 75 - 80% (а іноді і більше).
По виду виконуваних робіт лінії розділяють у залежності від охоплення операцій процесу виробництва зварених конструкцій. Лінії можуть охоплювати весь процес виготовлення звареної конструкції, починаючи від виготовлення деталей і кінчаючи обробкою готового виробу, або включати тільки частину операцій, наприклад, складально-зварювальні або оздоблювальні. Комплекс операцій, що включаються в лінію, залежить від конструкції виробу, що зварюється, і масштабу виробництва.
По номенклатурі виготовляємих виробів лінії розділяють на однономенклатурні, призначені для виробів одного типорозміру, і багатономенклатурні для виробів декількох типорозмірів з переналагодженням або без переналагодження лінії. Однономенклатурні лінії застосовують у масовому виробництві, багатономенклатурні – у дрібносерійному виробництві.
По ознаці безперервності технологічного процесу розрізняють лінії з безперервним і переривчастим технологічним процесом. Лінії з безперервним технологічним процесом характеризуються безперервним впливом інструмента при безперервному переміщенні об'єкта обробки. Ці лінії відрізняються найбільшою продуктивністю, тому що виробничий процес не має непродуктивних витрат допоміжного часу на установлення деталі, підведення інструменту й інші допоміжні операції. При переривчастому технологічному процесі вплив інструмента на оброблювану деталь відбувається з перервами, необхідними для зняття деталі після обробки, установлення нової деталі, підведення інструмента і т. ін
Таким чином, автоматичні складально-зварювальні лінії можна класифікувати по наступних основних ознаках:
1) по виду виконуваних на лінії робіт - для зварювання, для складання і зварювання, для складання, зварювання й оздоблення і т. ін.;
2) по характеру вихідного матеріалу - для матеріалу, подаваного безупинною заготівлею (дріт, стрічка, смуга і т. ін.), і для штучних заготівель;
3) по ознаці безперервності виробничого потоку - безупинні і переривчасті лінії;
4) по розташуванню технологічного устаткування уздовж лінії - послідовні, паралельні, послідовно-паралельні;
5) по розташуванню основного транспорту - із наскрізним і з винесеним транспортом.
У машинобудуванні основна частина автоматичних складально-зварювальних ліній призначена для виробів, виготовлених із окремих заготівель. Безупинні заготівлі використовуються при виробництві спіральних труб (лист), арматурних ферм (дріт) і т.п. виробів.
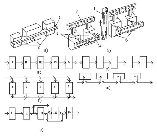
У безупинних лініях (рис. 1, а) усе технологічне устаткування 2 зв'язано одним конвеєром 1 і працює в єдиному ритмі. У таких лініях не потрібно створення проміжних запасів заготівель і деталей і бункерів для їхнього збереження. Нестачею цих ліній є залежність роботи всієї лінії від безперебійної роботи всіх окремих елементів. При порушенні роботи на будь-якої з операцій зупиняється вся лінія.
Рис. 1. Схеми автоматичних ліній
У переривчастих лініях (рис. 1, б) окремі автомати не зв'язані жорстко з конвеєром і працюють незалежно. По конвеєр 2 заготівлі надходять до першої групи автоматів 1, відкіля після опрацювання, по конвеєру 4 і підйомнику 3, вони подаються до автоматів 5 для наступної операції. Транспортні засоби, що зв'язують різні групи устаткування, є одночасно накопичувачами проміжних запасів, що дозволяє зупиняти при необхідності окремі автомати без порушення роботи всієї лінії.
Таким чином лінії, що перериваються, мають більшу експлуатаційну надійність, ніж безупинні. Останні застосовуються для великих виробів, коли створення проміжного запасу виробів вимагає багато місця. У переривчастих лініях для проміжного запасу можуть використовуватися як транспортні засоби (конвеєри-накопичувачі на рис. 1, б), так і спеціальні бункери. Іноді в переривчастих лініях окремі ділянки є безупинними, тому що устаткування, розташоване на них, працює в єдиному ритмі.
У лініях із послідовним розташуванням устаткування (рис. 1, в) кожний виріб послідовно проходить по всіх автоматах, на кожному з яких виконуються різні технологічні операції. Природно, що нормальна робота такої лінії можлива тільки при однаковій тривалості операцій, що виконуються на кожному автоматі.
Лінії з паралельним розташуванням устаткування (рис. 1, г) застосовуються для виготовлення простих виробів, коли весь процес виконується на одному або декількох верстатах-автоматах. У цьому випадку декілька однакових одиниць або груп устаткування розташовано поруч і зв'язано загальними пристроями для завантаження і вивантаження. Кожний виріб виготовляється на одному із верстатів.
Лінії послідовно-паралельні (рис. 1, д) застосовуються у випадках, коли тривалість операцій, виконуваних на різному технологічному устаткуванні, різна. Для забезпечення заданого такту лінії на ділянках, де виконуються більш тривалі операції, паралельно встановлюють більшу кількість одиниць устаткування.
Конвеєр для передачі виготовленого на лінії виробу може бути розташований як по осі робочих місць, так і збоку від них. У першому випадку (рис. 1, е) вироби проходять безпосередньо крізь робочі місця і така система називається лінією з наскрізним транспортом. При цьому шлях виробу відбувається по прямій лінії одним конвеєром. В другому випадку (рис. 1, ж) конвейєр винесений убік від технологічного устаткування і необхідна додаткова поперечна передача виробу з конвейєра до робочих місць і обратно. Для цієї цілі застосовуються спеціальні конвейєри, підйомники, механічні руки й інші механізми.
