Сторінка
8
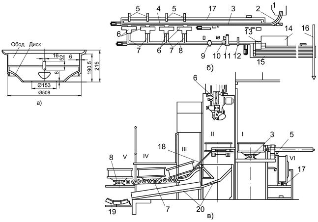
У випадку припинення, або порушення роботи частини зварювальних автоматів, колеса, що залишилися на кроковому конвеєрі, автоматично перевантажуються наприкінці його на роликовий конвейєр повернення 17. Цей конвеєр облаштований аналогічно конвеєру 3 і працює в якості накопичувача. По ньому не зварені колеса потрапляють до початку потоку, де, у міру накопичення, перевантажуються пресувальником на конвейєр 2 за допомогою спеціального пневматичного підйомника. На відміну від конвейєра 3, на конвеєрі повернення 17 колеса пересуваються у вертикальному положенні. Подане штовхачем до зварювального автомата колесо, після зварювання, потрапляє на кроковий конвейєр 8, який передає його на наступні операції.
Шлях колеса з крокового конвеєра 4 на конвеєр 8 можна добре прослідкувати за допомогою рис. 15.11, в, який зображує поперечний розріз лінії; І - положення колеса на конвеєрі 4, II - положення колеса на автоматі перед зварюванням і після нього. Для виконання зварювання колесо піднімається до зварювальної голівки. З положення ІІ зварене колесо при наступному ході штовхача 5 зіштовхується черговим колесом, подаваним на зварювання, і по склизу 18 потрапляє на поперечний роликовий конвейєр 7, що і перекочує його на конвейєр 8 (положення ІІІ-V).
Рис. 11. Лінія виготовлення автомобільних коліс
Колесо, що не потрапило на зварювальний автомат, повертається по конвеєру повернення 17 - положення VI. На рисунку 11, в також означені лотки 20 і стрічковий конвейєр 19 для відходів. Конвеєр 19 розташований під кроковим конвеєром 8. Кроковий конвейєр 8, який улаштований так само, як і конвейєр 3, передає зварені колеса спочатку на автомат 9 для очищення шва від шлаку, потім до автомата 11 для пробивання ніпельного отвору. Перед цим колеса орієнтуються спеціальним механізмом 10, тому що ніпельний отвір повинний бути розташований певним чином стосовно отвору для рук у диску колеса.
Після пробивання отвору колесо тим же конвеєром 8 подається до автомата 12 для зачищення задирок, після чого готове колесо потрапляє до контрольного поста 13. Після візуального контролю, для полегшення якого є спеціальний підйомник із поворотним диском, якісне колесо по поперечному рольгангу передається на роликовий конвейєр 15. Браковані колеса передаються на пост 14, де брак виправляється ручним електродуговим зварюванням. Полагоджене колесо передається на конвейєр 15, що складається з чотирьох самостійних паралельних гілок, що подають готові колеса до головного конвейєра цеху 16.
Навішення коліс на гаки головного конвейєра виконується за допомогою чотирьох пневмопідйомників, встановлених наприкінці кожної гілки конвейєра 15. Оскільки ритм головного конвейєра цеху може змінюватися і не завжди погоджений із тактом лінії коліс, конвейєр 15 улаштований так само, як конвейєр 3 і теж виконує роль накопичувача (колеса по ньому рухаються у вертикальному положенні, як на конвеєрі повернення 17).
Керування роботою обох крокових конвеєрів і штовхальників - централізоване і здійснюється з центрального пункту електричним командоапаратом.
На лінії працюють у зміну вісім чоловік: три налагоджувальники, підсобний робітник, що стежить за наявністю зварювального дроту і флюсу, контролер, робочий на виправленні дефектів, пресувальник і робітник по навантаженню готових коліс. Лінія відрізняється високою надійністю, тому що найбільш складна і відповідальна операція - зварювання - виконується на чотирьох паралельних автоматах і короткочасний вихід із ладу одного з них не порушує роботу всієї лінії.
Іншим варіантом автоматичної лінії виготовлення коліс легкового автомобіля може служити лінія, схема якої зображена на рис. 12.
Рис. 12. Схема лінії виготовлення коліс легкового автомобіля (фірма “Kiselring”, ФРН)
1 – накопичувач рулонів; 2 – рулонниця; 3 – машина для попереднього рихтування стрічки; 4 – привильно-відрізна машина; 5 – магазин-накопичувач; 6 – машина для завивки ободу; 7 – апаратні шафи; 8 – машини для стикового зварювання; 9 – машини для зняття грату; 10 – гідростанція; 11 – підйомники; 12 – охолоджуючий жолоб; 13 – розподілювальні жолоби; 14 – подавач заготівель; 15 – машина для попереднього формування ободу; 16 – транспортний жолоб; 17 – профілювальні машини; 18 – машина для калібрування; 19 – стрічковий конвеєр; 20 – пульт керування дільницею складання-зварювання; 21 – виштовхувач; 22 – позиція пробивання вентильного отвору та запресовки диска до ободу; 23 – багатоточкові зварювальні машини; 24 – кроковий конвеєр; 25 – розподільний диск; 26 – стрічкові конвеєри; 27 – естакада; 28 - ресивер; 29 – компресор; 30 – виштовхувач; 31 – установка для контролю торцового биття; 32 – пристрій для вивантаження коліс; 33 – місце складування дисків; 34 – позиція вузлового складання; 35 – підвісний конвеєр для подавання коліс на фарбування; 36 – підвісний конвеєр для подавання коліс на дільницю виправлення браку.
На лінії виконується розмотування рулону, виправлення, відрізання смуги, гнуття смуги в кільце, стикове контактне зварювання кільця, зрізання грату, попереднє формування, профілювання і калібрування обода, пробивання вентильного отвору, запресовування диска в обод, контактне зварювання диска з ободом у восьми точках, контроль якості.
Продуктивність лінії - 720 коліс за годину.
