Сторінка
4
Тип гідро двигуна – Пш Г4/50
Рис.2.4
Гідродвигун підключається до технологічного обладнання через гідро золотники(гідрореле).
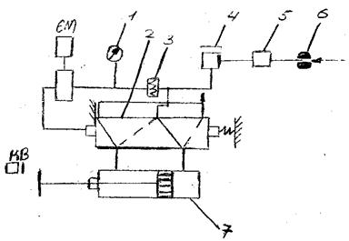
Принцип виконання чотирьох ходового гідравлічного реле з електричним виконанням.
Рис.2.5
Даний золотник переключається за допомогою тягових електромагнітів ЕМ1 і ЕМ2, керуємих кінцевими вимикачами КВ1 і КВ2.
Золотники з електричним керуванням використовують в гідросистемах з розходом масла більш ніж 8л/хв.
ГЦ – гідроциліндр;
Н – насос;
ПК – перехідний клапан;
Даний золотниковий розподільник типу: РХ06574А1
По принципу дії пневматичні механізми не відрізняються від гідравлічних, тоді однакові і їх елементи. Тиск повітря в пневматичних пристроях не перевищує(6-8 кг/см2).
Поршневі пневматичні двигуни (пневмоцеліндри) найбільш поширені. Вони мають циліндри такі як в гідравлічних двигунах.
В типових конструкціях робочих пневматичних циліндрів великого діаметра – 100мм і більше прийнято кріплення на лапах і кріплення фланцем.
Поршень складається з чавунного диска 7, шкіряних або резино – тканевих манжетів 5 і 8, та металевого кільця 6. Для уплотніння штока 9 використовують спеціальні уплотненні резино – тканеві кільця 12.
При кріпленні на лапах торцеві щити з отворами 2 під шурупи 3 і з каналами 4, 10 і 11 для виводу повітря кріпляться до циліндра 1 який має лапки.
Рис.2.6
Тип пнемо двигуна ППш30к.
Повітря розподілювачі (пнемореле) використовують для розподілення потоків повітря, виконують функцію підсилювача.
Поширений тип чотирьохходового пневмореле з електромагнітним електрокеруванням БВ-64-1.
Схема підключення даного реле приведена нижче:
Рис.2.7
Подачу стиснутого повітря забезпечує крань, через фільтр 5 поступає на редуктор 4, далі на масленку 3 і поступає в середню порожнину пнемо реле 2, яке керує рухом пневмоцеліндра 7.
Керування ходу пнемо реле виконується за допомогою вимикача КВ і електромагніту ЕМ.
Шестеренні насоси відносяться до групи обємних, типу роторних насосів, обертового руху.
Тип насосу: РШн-5
Рис.2.8
1- корпус насоса;
2- шестерня ведуча;
3- шестерня ведена;
4- область всмоктування;
5- область нагнітання;
6- нагнітальний патрубок;
Параметри: робочий об’єм Vо; модуль зуба m; подача Q, корисна потужність Nкор.
При обертанні шестерень кожний зуб шестерня, виходячи з зачеплення, звільняє відповідний об’єм в впадині другої шестерні. Під дією атмосферного тиску в резервуарі рідина засосується в звільнений об’єм випадини. При дальшому обертанні шестерні рідина, що знаходиться між зубами разом з ними переміщається із області всмоктування в область нагнітання.
Переваги шестеренного насоса:
1. Можуть працювати з великою частотою обертання до 50С-1
2. Прості по конструкції, надійні в експлуатації.
3. Невеликі габарити, дешеві.
Недоліки:
1. Нерівномірна подача.
2. Нерозвантажений радіальний тиск на шестеренні вали і осі, що зменшує максимальний тиск, який може розвивати насос.
Подача Q=Vo n або Q= 2Пn (Z+1) m2 bn0 (m3/c).
Двухфазні осинхронні електродвигуни завдяки легкості керування числа оборотів дістали велике поширення в автоматизації. У двухфазних осинхронних електродвигунів з нерегульованим числом оборотів дві обмотки живляться від загального джерела напруги , але для получення обертального магнітного поля в ланцюг одної з обмоток w1 статора включений конденсатор С.
Виконавчий механізм типу IM2/120
Рис.2.9
Трьох фазні асинхронні електродвигуни основні двигуни сучасного електроприводу. Вони відрізняються добрими технічними характеристиками і простотою пристрою.
За послідній час в машинах і автомашинних пристроях широке поширення дістали електродвигуни з приєднаними редуктором, дозволяющі діставати на вихідному валі понижене число оборотів.
2.4.Підбір і розрахунок автоматизуючи пристроїв.
