Сторінка
7
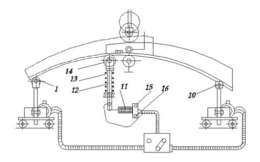
Висота роликів передньої і задньої опор у процесі руху криволінійного тавра регулюється ковзним контактом 11, що забезпечує нормальне розташування заготівель у зоні зварювання. Під дією пружини 13 шток 12 піднімається доти, поки ролик 14 не упреться в полицю тавра. На другому кінці штока закріплений ковзний контакт 11.
Якщо ковзний контакт не замикається з нерухомими контактами 15 або 16, задня опора залишається вимкненою, що відповідає нормальному положенню тавра в зоні зварювання. При переміщенні тавра в процесі зварювання передній кінець його може піднятися або опуститися. У цьому випадку шток, під дією пружини або ваги тавра, відповідно підніметься або опуститься, замикаючи ковзним контактом верхній контакт 15 або нижній 16.
При замиканні ковзного контакту з контактом 16 вмикається електродвигун задньої опори, що обумовлює опускання ролика 10. При цьому передній кінець тавра піднімається, шток, під дією пружини, переміщається доверху до розмикання ковзного контакту. При замиканні ковзного контакту з контактом 15 напрямок обертання електродвигуна задньої опори змінюється, що змушує опорний ролик підніматися. При цьому передній кінець тавра опускається, шток переміщається вниз до розмикання ковзного контакту. Коли середня частина тавра наблизиться до приводного ролика, вимкнеться керування слідкуючим контактом задньої опори і увімкнеться керування передньою опорою 1.
а)
б)
Рис. 21. Верстат СТС-2М для складання та зварювання
Т-подібних балок:
а-кинематична схема верстата;
б-схема роботи слідкуючого контакту.
