Сторінка
13
Електромагніт характеризується ходом, тяговим зусиллям (моментом) якоря та допустимою кількістю вмикань.
Рис. 4.13. Електрогідравлічний штовхач: 1 — електродвигун: 2 - ротор: З - корпус; 4 — крильчатка; 5 - поршень: 6 - циліндр; - шток: 8-ущільнення: 9 - пробка заливного отвору; 10 - колодка затискачів.
У гальмі з довгоходовим силовим органом розгальмування здійснюється електрогідроштовхачем (рис. 4.13). Цей агрегат об'єднує електродвигуна та штов-хача і являє собою привід з прямолінійним переміщенням виконавчого органа. Він перетворює електричну енергію в обертання ротора двигуна і далі в поступальний рух штока.
Принцип дії електрогідроштовхача такий. Коли обертається ротор електродвигуна, крильчатка гідронасоса переганяє мастило з корпусу штовхача під поршень, підвищуючи тиск. Внаслідок цього поршень починає переміщуватися в циліндрі й піднімає зв'язаний з ним шток штовхача, який діє на важільну систему гальма. Важелі, переборюючи зусилля пружини, дають змогу колодкам відійти від гальмового шківа. Коли вимикається двигун, ротор зупиняється, а поршень внаслідок зникнення надлишкового тиску й дії власної ваги опускається.
Важільна система гальма від дії пружини змикає колодки, притискуючи їх до шківа.У гальмах стрілових кранів застосовують електричні -штовхачі
Рис. 4.13. Електрогідравлічний штовхач: і — електродвигун: 2 - ротор: З - корпус; 4 — крильчатка; 5 - поршень: 6 - циліндр; - шток: 8-ущільнення: 9 - пробка заливного отвору; 10 - колодка затискачів.
ТЗ-25У2 та ТЗ-50У2 з такими основними характеристиками: зусилля підіймання - 500 Н; хід штока - 50 мм; споживана потужність - 200 Вт; об'єм робочої рідини 3,5л. У штовхачах типу ТЗ за температури навколишнього повітря від-15 до +40 °С за робочу рідину служить трансформаторне мастило, за більш низької температури -рідина ПЗС-ЗД. Вгорі корпусу штовхача є отвір для заливання робочої рідини, а в нижній частині - отвір для її зливання. Електрогідроштовхач порівняно з електромагнітами дає змогу плавніше гальмувати механізми завдяки більшій тривалості спрацьовування. Гнучкий зв'язок між двигуном і штоком виключає поломки навіть у разі заклинювання колодок. Крім типу ТЗ, використовують штовхачі типів ТЗГ і ТГМ. На кранах застосовують гальма з довго-ходовими силовими органами таких типів: ТКГ-200 (ТКТГ-200) - гальмо колодкове трифазного струму з електроштовхачем; ТКТ-300 - гальмо колодкове з електромагнітом МО змінного струму; ТКП-200 - гальмо колодкове з електромагнітом МП постійного струму. Цифра у марці гальма -діаметр гальмового диска.
У механізмах електричних кранів, що працюють на змінному струмі, використовуються гальма типів ТКГ та ТКТ, а в кранах, що експлуатуються на постійному струмі, - типу ТКП. На пневмоколісних кранах у механізмах пересування встановлюють колодкові нормально відкриті гальма, якими керують за допомогою пневмосистеми.
3.Стрічкове кероване гальмо
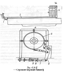
Рис. 4.14. Стрічкове кероване гальмо: 1 - педаль; 2 - тяга; З — гальмова стрічка; 4 - канат; 5 - шків; б - важіль; 7 - шток: 8 - скоба; 9 - пружина.
Стрічковими нормально відкритими гальмами (рис. 4.14) додатково до колодкових гальм можна обладнувати крани, механізми повороту яких зазнають впливу значних інерційних зусиль. У кабіні керування зусилля від педалі передається жорсткою тягою й канатом через важелі скобі, яка стискує пружину. Внаслідок цього шток переміщується й повертає важіль з закріпленими на ньому кінцями стрічки. Рухом важеля ліворуч стрічка відтискується від шківа й починається процес розгальмовування. Змінюючи зусилля натиску на педаль, можна регулювати ступінь гальмування механізму повороту крана.
V.Самостійна робота на уроці
1.Робота з підручниками за варіантами
Для кращого закріплення нового матеріалу, відкрийте будь-ласка підручник «Будівельні крани» на ст.74 та прочитайте §4.2. По матеріалу цього параграфа Ви зараз будете самостійно працювати з картками .
VІ.Закріплення нового матеріалу
1. Робота з картками.
Для перевірки засвоєного матеріалу Ви на отриманих картках підписуєте позиції на рисунках.
2. Фронтальне опитування нового матеріалу
Для повного закріплення нового матеріалу проведемо фронтальне опитування. Дайте будь-ласка відповіді на такі питання:
· Що таке гальма?
· Де встановлюються гальма у трансмісіях?
· За способом дії розрізняють гальма…
· Що являє собою гальмо за принципом дії?
· Які гальма бувають за способом керування?
· Які гальма бувають за конструкцію?
· З чого складається колодкове гальмо?
· Що називається стрічковими нормально відкритими гальмами?
VII. Домашнє завдання (пояснення домашнього завдання):
Домащнє завдання: Вивчити із підручника Л.А.Хмара «Будівельні крани» §4.2 ст 74-77
VIII. Підсумок уроку. Оцінка знань та аналіз відповідей
Підсумок уроку. На сьогоднішньому уроці Ви вивчили і зрозуміли: загальні відомості про гальма;що таке колодкове гальмо та його класифікацію; стрічкове гальмо.
Урок № 39
Тема: Механізми та елементи трансмісії.
Мета: Перевірити знання учнів по темі «Механізми та елементи трансмісії», розвивати вміння самостійної роботи за індивідуальним планом, виховувати вміння самостійно розв’язувати подані завдання.
Матеріали і обладнання: схеми, типові формули.
Тип уроку: контрольна робота
Метод: фронтально-письмовий.
Міжпредметні зв’язки.
Хід уроку
І. Організаційний момент.
ІІ. Актуалізація опорних знань:
1. Нагадати про вимоги до виконання і оцінювання контрольної роботи учнів.
ІІІ. Активізація нового матеріалу.
IV. План вивчення нового матеріалу:
1. Робота за варіантами по питаннях(4 варінанти)
V. Самостійна робота на уроці.
VI. Закріплення нового матеріалу.
VII. Домашнє завдання (пояснення домашнього завдання).
VIII. Підсумок уроку. Оцінка знань та аналіз відповідей учнів.
Хід уроку
І. Організаційний момент
1.Зайти, привітатися (зосередити увагу учнів)
2. Видати завдання старості подати список відсутніх
3.Перевірити готовність учнів до уроку.
ІІ. Актуалізація опорних знань
1.Нагадати про вимоги до виконання і оцінювання контрольної роботи учнів.
Контрольна робота складається із 4 варіантів. Кожен варіант містить по 6 запитань, з яких перших два запитання тестового характеру і оцінюються у 1бал за питання;наступних два питання середнього рівня складності і оцінюється одне питання у 2 бала;останніх два питання складного рівня і оцінюються у 3 бали за питання.
ІІІ. Активізація нового матеріалу
Тема контрольної роботи: Механізми та елементи трансмісії.
Інші реферати на тему «Педагогіка, виховання»:
Вивчення теми "Прикметник" як засіб формування пізнавальної активності молодших школярів
Порівняльний аналіз нормативного регулювання підготовки кадрів міліції України та Європейських країн
Використання сучасних технічних засобів в процесі вивчення іноземної мови
Формування методичної компетенції майбутнього вчителя англійської мови початкової школи з лексики
Методичне забезпечення занять шкільного радіотехнічного гуртка
