Сторінка
2
Відкрита інфляція характеризується:
- постійним ростом цін;
- дією механізму адаптивних інфляційних очікувань.
Прихована інфляція характеризується:
- тимчасовим заморожуванням цін та доходів;
- встановленням граничних цін на продукцію;
- тотальним адміністративним контролем за цінами.
Основними формами відкритої інфляції є інфляція попиту, інфляція пропозиції (витрат) і відкрита структурна інфляція.
Інфляція попиту викликається таким явищем як зростання попиту і відповідно зростання цін в процесі господарювання.
Інфляція, що виникає при зміні пропозиції, тобто інфляція за монетарною концепцією, називається інфляцією витрат. Інфляція, що виникає при зміні попиту, називається інфляцією попиту. Адаптивні інфляційні очікування призводять до збільшення попиту. Таким чином, інфляція витрат посилюється інфляцією попиту.
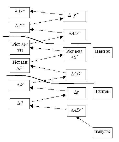
Інфляція попиту, як правило, виникає в умовах повної зайнятості і повної завантаженості виробничих потужностей. У цих умовах зростання попиту не супроводжується розширенням пропозиції, тому ціни зростають. Цю ситуацію можна дослідити на графіку (мал.1).
Зростання грошової маси (сукупного попиту) на відрізках2 та 3 кривої AS призводить до інфляційного зростання цін.
Інфляція попиту в моделі AD-AS.
Якщо під впливом нецінових факторів підвищується сукупний попит від AD1→AD2→AD3 послідовно, то це викликає такі процеси в економіці:
- починають рости ціни (Р1→Р2→Р3);
- ріст цін виступає стимулюючим фактором до росту виробництва, яке теж росте (Q1→Q2→Q3).
Таким чином, інфляція попиту хоча і викликає ріст цін, але вона не є абсолютно шкідливою, оскільки в ході розширення виробництва росте і зайнятість.
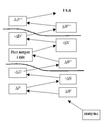
Інфляція витрат.
В економіці може виникнути ситуація, коли нецінові фактори вплинуть на ціни і на ресурси, відповідно ростуть витрати виробництва і виникає таке негативне явище, як інфляція пропозиції (витрат). Відповідно цей тип інфляції теж може бути зображений в моделі AD-AS при аналізі зміщення кривої AS.
Якщо ростуть витрати виробництва, то підприємці змушені реагувати ростом цін на свою продукцію. Так підвищення цін Р1→Р2→Р3 впливає на скорочення сукупної пропозиції від AS1→AS2→AS3. При цьому йде скорочення обсягів виробництва Q1→Q2→Q3.
Отже, інфляція пропозиції (витрат) супроводжується одночасним ростом цін і скороченням виробництва. Якщо скорочується виробництво, то це означає скорочення зайнятості. Поєднання трьох явищ: інфляції, спаду виробництва і безробіття – це стагфляція.
Якщо в процесі стагфляції під впливом безробіття та росту цін росте сукупний попит від AD1 до AD2, то це хоч впливає на деяке зниження цін, проте спровокує ще більший спад виробництва.
Інфляція попиту характеризується т.Е3 на перетинах кривих AS1 та AD2. Інфляцію витрат характеризує т.Е2 на перетині кривих AD1 і AS2. Якщо одночасно зростають попит від AD1 до AD2 та пропозиція від AS1 до AS2, то це точка Е4 на перетині названих кривих AD2 і AS2 та поєднання інфляції попиту і пропозиції викликає різке підвищення цін від Р1 до Р4, набагато більше росту цін від інфляції витрат – Р2 і інфляції пропозицій – Р3. В той же час відбувається спад виробництва від Q1 до Q4 за рахунок впливу інфляційного попиту на спад виробництва. Отже, будь-який з типів інфляції викликає негативні явища в економіці і фактично руйнує економіку.
Інфляційна спіраль попиту
Інфляційна спіраль пропозиції
Інфляційний та дефляційний розрив
Інфляційний розрив – це відхилення в бік збільшення сукупного попиту від стану рівноваги в умовах повної зайнятості при сталій пропозиції.
Інфляційний розрив
QF – лінія повної зайнятості; QMO – рівень обсягів ВНП; KL – інфляційний розрив; Q – реальний ВНП.
Інфляційний розрив утворюється тоді, коли сукупний попит зростає на класичному відрізку кривої сукупної пропозиції.
Інфляційний розрив:
QP - лінія повної зайнятості; KL – інфляційний розрив.
Дефляційний розрив – це відхилення в бік зменшення сукупного попиту від стану рівноваги в умовах повної зайнятості при сталій пропозиції.
Дефляційний розрив
Qf – лінія повної зайнятості; QMO – обсяг ВНП в умовах рівноваги; МВ – дефляційний розрив.
Дефляційна політика спрямована на стримання споживання і створює сприятливі умови для заощадження і нагромадження.
3. Використання кривої Філіпса для аналізу інфляційних процесів.
Два погляди на криву Філіпса.
Інші реферати на тему «Макроекономіка»:
Прогнозування та макроекономічне планування в ринковій економіці
Дефіцит державного бюджету, економічна характеристика та шляхи скорочення
Теорія економічного циклу. Антициклічне регулювання
Сукупна пропозиція. Цінові та нецінові фактори сукупної пропозиції. Механізм функціонування ринку праці
Сучасна макроекономічна політика стабілізації в Україні
