Сторінка
8
Рис. 8.1
Зрозуміти принцип дії такого логічного елемента допоможе його електричний аналог (рис. 8.1в.).
Послідовно з обмоткою реле включено два вимикачі SВ1 та SВ2, контакти яких імітують стан вхідних сигналів.
Коли контакти кнопок розімкнуті (лампа світиться), то на виході присутній сигнал логічної 1. Замкніть контакти одного з вимикачів у вхідному колі. Як на це зреагує індикаторна лампа? Вона продовжує світитись.
А якщо замкнути контакти обох вимикачів? У цьому випадку електричне коло, утворене батареєю живлення, обмоткою реле та контактами вимикачів буде замкнутим, реле спрацює, і своїми контактами розімкне коло живлення лампи. Таким чином, при наявності логічної 1 на обох входах, на виході буде сигнал логічного 0.
Логічний елемент І-НЕ має ще одну істотну властивість:
якщо його входи з'єднати разом і подати на них сигнал логічної 1, на виході елемента буде сигнал логічного 0. І навпаки, при подачі на об'єднаний вхід сигналу логічного О на виході елемента буде сигнал логічної 1. У цьому випадку елемент І-НЕ стає інвертором, тобто виконує функцію логічного елемента НЕ.
Промислові інтегральні мікросхеми того чи іншого призначення будують, в основному, на базі логічних елементів І-НЕ або АБО-НЕ. На основі таких елементів можна будувати схеми, які реалізують практично будь-які логічні функції.
Завдання
На макетній платі змонтуйте електронну схему подану на рис.9.
Виводи 7 та 14 мікросхеми підключіть відповідно до мінусової та плюсової шини джерела живлення.
Переконавшись в правильності монтажу та надійності з’єднань, подайте на схему живлення.
Виміряйте напругу на першому, другому та третьому виводах мікросхеми. Запишіть результати вимірювань.
Від’єднайте резистори R1 та R2 від виводів мікросхеми; виміряйте напругу на її входах та виході. Запишіть результати вимірювань.
До входів 1 і 2 мікросхеми знову під’єднайте резистори і, почергово вмикаючи та розмикаючи вимикачі SA1, SA2, виміряйте величину напруги на виводах мікросхеми. Запишіть результати вимірювань.
Рис. 9
Контрольні запитання
Чому в обчислювальній техніці застосовують двійкову систему числення?
Які існують логічні схеми?
В чому полягає відмінність логічних схем І, АБО, НЕ одна від одної? Поясніть їх принцип роботи.
Охарактеризуйте особливості роботи логічних елементів мікросхеми К155ЛА3.
Дослідження роботи RS-тригера
Мета роботи: вивчити принцип дії та дослідити характеристику RS-тригера; ознайомитись з сферою його використання; набути практичних умінь роботи з цифровими інтегральними схемами.
Обладнання: монтажна плата, радіодеталі (згідно поданої схеми), електронний вольтметр типу ВК7-9Б, паяльник, монтажні проводи.
Теоретичні відомості
Тригер - це логічний електронний пристрій, який може перебувати в одному з двох стійких станів – одиничному або нульовому. Перехід від одного стану до іншого здійснюється внаслідок подачі електричних сигналів на строго визначені входи. При відсутності цих сигналів тригер зберігає свій вихідний (початковий) стан.
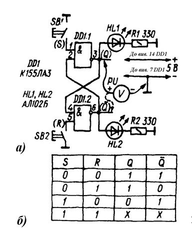
У загальному вигляді, тригер можна розглядати як пристрій, що має декілька керуючих входів та два виходи. В серії тригерів RS-тригери - найпростіші. Щоправда промисловість не випускає їх в окремому інтегральному виконанні, тому, зазвичай, їх складають з логічних елементів, наприклад, 2І-НЕ. Схему такого тригера подано на рис.10а.
Він утворений двома елементами 2І-НЕ з перехресними зворотніми зв’язками між входами та виходами. У RS-тригера є два незалежних входи та стільки ж виходів. Перший вхід - вивід 1 елемента DD1.1, другий - вивід 5 елемента DD1.2; виходи - відповідно виводи 3 та 6.Щоб краще зрозуміти та засвоєти принцип роботи RS-тригера, доцільно змоделювати подану схему тригера на монтажній платі. Звіривши монтаж дослідного тригера із його схемою і переконавшись у відсутності помилок та надійності паяних з’єднань, подайте живлення. Відразу ж повинен спалахнути один з світлодіодів. Припустимо, що це буде НL1. Значить, першим одиничний стан прийняв елемент DD1.1. Про це засвідчать і покази вольтметра, підключеного до його виходу (вив.3) — тут повинен бути рівень логічної 1; принагідно виміряйте напругу на виході другого елемента (вив.6) — тут буде рівень логічного О.
Рис. 10
Записавши результати вимірiв, короткочасно замкніть контакти кнопки SВ1. Що змінилося? Нічого. Як і раніше горить тільки світлодіод НL1. А тепер замкніть контакти кнопки SВ2. Відразу ж світлодіод НL1 згасне, натомість спалахне світлодіод НL2. Елемент DD1.1 перейде в нульовий стан, а DD1.2 — в одиничний. У такому стані елементи можуть знаходитися досить тривалий час (доки не вимкнуть живлення). Але варто натиснути кнопку SВ1, як елементи одразу ж переключаться в протилежний стан.
Проаналізуємо роботу досліджуваного тригера. Відомо, що непідключення вхідного виводу елемента 2І-НЕ рівнозначне подачі на нього рівня логічної 1. Цей рівень на виводі 5 був, очевидно, дещо вищим аніж на виводі 1. Тому при включенні живлення на виході елемента DD1.2 відразу ж з'явився рівень логічного О. Це спричинило встановлення елемента DD1.1 в одиничний стан. При цьому рівень, що з'явився на виході цього елемента (логічна 1), одразу ж подано на другий вхід елемента DD1.2 (вив. 4). Це утримує його в одиничному стані. Імітація подачі імпульсу негативної полярності на вхідний вивід 1 елемента DD1.1 (кнопкою SВ1) не зможе змінити його стану, оскільки в цей час на другому його вхідному виводі 2 присутній рівень логічного 0.
Коли ж натиснути кнопку SВ2, то на вхід елемента DD1.2 (вив. 5) буде подано імпульс негативної полярності. Переключаючись в одиничний стан, цей елемент рівнем логічної 1, що присутня на його виході (вив. 6), переключить елемент DD1.1 у нульовий стан. При цьому на другому вході елемента DD1.2 (вив.4) появиться рівень логічного 0, який підтримує елемент в одиничному стані.
Так, по черзі натискуючи кнопки вхідних кіл, можна переключати тригер з одного стійкого стану в інший і тим самим керувати пристроями цифрової техніки, підключеними до його виходів.
Стан RS-тригера характеризують рівні сигналу на його так званому прямому виході. Цей вихід позначають буквою Q (вив.3). Якщо на даному виході присутній рівень логічної 1, то вважають, що тригер знаходиться в одиничному стані, а якщо присутній рівень логічного 0 — у нульовому.
При одиничному стані тригера на його другому виході (вив.6) буде рівень логічного 0 і, навпаки. Тому цей вихід позначають такою ж буквою Ō (риска поверх букви вказує на те що сигнал інвертований).
Вхід, через який тригер встановлюють в одиничний стан (вив.1), позначають буквою S (початкова буква англійського слова Sеt - встановлення). Вхід, через який тригер переключають у нульовий стан (вив.5), позначають буквою R (початкова буква англійського слова Reset - повернення).
Стан тригера, залежно від рівня сигналів на його входах, ілюструє таблиця, подана на рис.10б. Якщо на обидва входи тригера подати рівні логічного 0 (натиснувши одночасно обидві кнопки), на обох його виходах буде рівень логічної 1. Такий стан тригера суперечить логіці його дії, тому подібне поєднання сигналів слід вважати недопустимим.
Інші реферати на тему «Педагогіка, виховання»:
Творчі завдання як засіб розвитку креативних здібностей учнів у навчально-виховному процесі
Особливості формування інноваційної культури вчителя
Педагогічний малюнок на класній дошці в роботі вчителя початкових класів
Педагогічна взаємодія і механізм співробітництва педагога й учнів
Використання українознавства та етнопедагогіки як основи національного виховання і навчання управлінських кадрів нової генерації
