Сторінка
3
Рис. 9. Стаціонарна флюсова подушка зі шнеком.
Зайвий флюс зсипається у флюсоприймач (на рисунку не показаний). Подушка призначена для автоматичної лінії зварювання спіральних труб діаметром 429 - 630 мм.
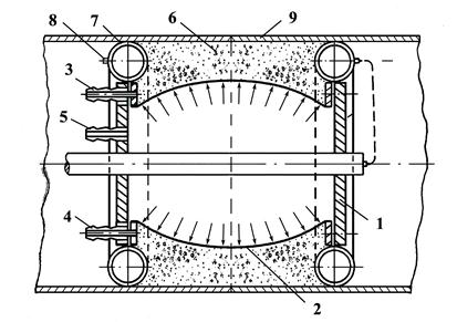
Для автоматичного зварювання під флюсом кільцевих швів труб ззовні використовують кільцеві флюсові подушки. При цьому дуже важливо забезпечити рівномірний притиск флюсової подушки до крайок стику. Оптимальний тиск повітря в шланзі флюсової подушки повинен бути не більш 0.1 МПа. При меншому тиску притиснення подушки буде недостатнім і можливі пропали, а при більшому тиску можливе витискання рідкого металу й ослаблення зварного шва. На кільцевій флюсовій подушці рекомендується зварювати стики труб діаметром від 300 до 1000 мм., коли доступ до стиків зсередини труби утруднений. Кільцева флюсова подушка (рис. 10.) складається з металевого корпуса 1 із бічними ущільнюючими шлангами 7 і підтискної еластичної діафрагми 2. До корпуса через штуцери 5 під‘єднуються шланги, що підводять повітря.
Рис. 10. Кільцева флюсова подушка для зварювання
поворотних стиків труб.
Під час роботи подушку встановлюють усередині труби і підтискують бічними ущільнювальними шлангами шляхом подачі в них повітря через ніпелі 8. Порожнину подушки через окремий штуцер 3 заповнюють флюсом під тиском від флюсобункера. Після цього під діафрагму, яка герметично закріплена в корпусі, через штуцер 5 подається повітря і вона притискає флюс 6 до стику труби 9 (показано стрілками). Видалення флюсу здійснюється шляхом його відсмоктування через штуцер 4.
Пристрої з металевими підкладками вимагають більш ретельного складання стику і щільного притиснення підкладки до листа в порівнянні з флюсовими подушками. Їх застосовують, в основному, для однобічного дугового зварювання виробів з тонколистових матеріалів. Матеріал підкладок залежить від матеріалу виробу: наприклад, для сталевих листів застосовують мідні підкладки, а для листів з алюмінію – сталеві. В усіх випадках матеріал підкладки не повинний зварюватися з матеріалом виробу. Широке поширення пристрої з металевими підкладками одержали при зварюванні в захисних газах.
