Сторінка
3
Вуглекислотні вогнегасники (ОУ-2, ОУ-5, ОУ-8) призначені для гасіння загорянь різних речовин і матеріалів, за винятком речовин, які можуть горіти без доступу повітря, загорянь на електрифікованих залізничному і міському транспорті, електроустановок під напругою до 380 В. Температурний режим зберігання і застосування вуглекислих вогнегасників від мінус 40 °З до плюс 50 °З.
Вуглекислотні-брометілові вогнегасники ОУБ-3А і ОУБ-7А є сталевими тонкостінними балонами (товщина стіни 1,5-2 мм) зварної конструкції. В горловину балона укручена замочна головка типу важеля з насадкою, що розпиляла, і сифоновою трубкою. Місткість балонів відповідно 3,2 і 7,4 л.
Вогнегасним зарядом є склад 4НД (97 % бром-етила і 3 % вуглекислого газу). Вогнегасна дія бромистого Етилу заснована на гальмуванні хімічних реакцій горіння, тому його часто називають антикаталізатором або інгібітором. Для викиду заряду у вогнегасник закачують повітря під тиском 0,9 МПа.
Час дії вогнегасників 20-30 з при довжині струменя 3-4 м.
Вогнегасники цього типу призначені для гасіння невеликих загорянь різних горючих речовин, тліючих матеріалів, а також електроустановок, що знаходяться під напругою до 380 В. Їх використовують в складських приміщеннях, на вантажних і спеціалізованих автомобілях, на бензороздавальних колонках і т.д. Вогнегасники можуть бути застосовані при температурі оточуючого повітря від мінус 60 °З до плюс 60 °С. Вогнегасний ефект цих вогнегасників в 14 разів вище, ніж вуглекислотних.
Вогнегасники аерозольні використовують в тих же випадках, що і вуглекисло-брометилові. Вогнегасний склад хладон (фреон), 114В2, 13В1 в процесі пожежогасінні не надає дії на матеріали, що захищаються, і устаткування, що дозволяє використовувати дані вогнегасники при гасінні пожеж електронного устаткування, картин і музейних експонатів. Наша промисловість випускає вогнегасники марок ОАХ, ОХ-3 і ін.
Вогнегасники порошкові
Для гасіння невеликих вогнищ загорянь горючих рідин, газів, електроустановок напругою до 1000 В, металів і їх сплавів використовуються порошкові вогнегасники ОП-1, ОП-25, ОП-10.
Порошковий вогнегасник ОП-1 "Супутник" місткістю 1 л використовується при гасінні невеликих загорянь на автомобілях і сільськогосподарських машинах. Складається з корпусу, сітки і кришки, виготовленої з поліетилену. Заповнений складом ПСБ (порошок сухий двокарбонатний), що складається з 88 % бікарбонату натрія з додаванням 10 % тальку марки ТКВ, стеаратів металів (заліза, алюмінія, магнія кальція, цинку) - 9 %.
Під час користування знімають кришку вогнегасника і через сітку порошок ПСБ уручну розпилюють на вогнище горіння. Стійка порошкова хмара, що утворюється, ізолює кисень повітря і інгібірує горіння.
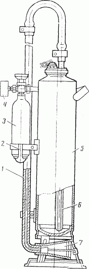
Порошковий вогнегасник ОП-10 (малюнок 4) містить в тонкостінному десятилітровому балоні порошок ПС-1 (вуглекислий натрій з добавками). Подається за допомогою стислого газу (азот, діоксид вуглецю, повітря), що зберігається в додатковому балончику місткістю 0,7 л під тиском 15 МПа. Застосовується для гасіння загорянь лужних металів (літію, кадію, натрія) і магнієвих сплавів.
В інших вогнегасниках цього типу використовуються порошкові склади: ПСБ (бікарбонат натрія з добавками), ПФ (фосфорно-амміачні солі з добавками), призначені для гасіння деревини, горючих рідин і електроустаткуванні, СІ-2 (сидикагель з наповнювачем) - для гасіння нафтопродуктів і пірофорних з'єднань.
Вогнегасник порошковий (ВІСПИ), що самоспрацьовує, - це нове покоління засобів пожежогасінні. Він дозволяє з високою ефективністю гасити вогнища загоряння без участі людини.
Вогнегасник є герметичною скляною судиною діаметром 50 мм і завдовжки 440 мм, заповнений вогнегасним порошком масою 1 кг. Встановлюється над місцем можливого загоряння за допомогою металевого утримувача (малюнок 5). Спрацьовує при нагріві до 100 °З (ВІСПИ-1) і до 200 °З (ВІСПИ-2). Об'єм, що захищається, до 9 м3.
Вогнегасники ВІСПИ призначені для гасіння вогнищ пожеж твердих матеріалів органічного походження, горючих рідин або плавких твердих тіл, електроустановок, під напругою до 1000 В.
Достоїнства ВІСПИ: гасіння пожежі без участі людини, простота монтажу, відсутність витрат при експлуатації, екологічно чистий, нетоксичний, при спрацьовуванні не псує устаткування, що захищається, може встановлюватися в закритих об'ємах з температурним режимом від мінус 50 °З до плюс 50 °З.
Генератори об'ємного аерозольного гасіння пожеж (СОГ) - є найбільш сучасними засобами пожежогасінні.
Малюнок 4 - Вогнегасник порошковий ОП -10
1- подовжувач; 2- кронштейн; 3-балон з робочим газом; 4- манометр; 5- корпус; 6-сифонова трубка; 7- насадок.
Вони призначені для гасіння пожеж ЛВЖ і ГЖ (бензин і інші нафтопродукти, органічні розчинники і т.п.) і твердих матеріалів (деревина, ізоляційні матеріали, пластмаси і ін.), а також електроустаткування (силові і високовольтні установки, побутова і промислова електроніка і т.п.) СОГ непридатна для гасіння лужних і лужноземельних металів, а також речовин, горіння яких відбувається без доступу повітря.
В генераторах СОГ Вогнегасячим засобом є твердий аерозоль оксидів лужних і лужноземельних металів перехідної групи, що утворюється при тому, що згоряє зарядів і здатний знаходитися в замкнутому об'ємі в зваженому стані протягом довгого (до 40-50 хвилин) часу.
Виділяється при горінні заряду генератора аерозольно-газова суміш не псує майно, що захищається, і навіть папір, а самі частинки аерозоля можна прибрати пилососом або змити водою.
Генератори СОГ діляться на ручні (СОГ-5М) н стаціонарні (СОГ-1). Об'єм, що захищається, генератором СОГ-5М до 40 м3 генератором СОГ-1 до 60 м3.
Для приведення в дію генератора СОГ-5М (малюнок 6) необхідно зняти ковпак з вузла запуску, різко смикнути за шнур і кинути в приміщення, що горить.
Для запуску генератора СОГ-1 (малюнок 7) використовуються спеціальні вузли запуску термохімічні, електричні.
Застосування термохімічних вузлів запуску, що спрацьовують при досягненні в об'ємі, що захищається, температура 90 °З, дозволяє кожному генератору, якщо їх встановлено дещо, працювати повністю автономно. Генератори, оснащені термохімічними вузлами запуску, встановлюються під стелею приміщення, в зоні найбільш вірогідного загоряння.
Інші реферати на тему «БЖД, охорона праці»:
Означення і вимірювання ризику. Управління ризиком
Проблема здоров’я в житті сучасного суспільства
Магнітне поле і особливості його впливу на людину
Анатомо-фізіологічні механізми безпеки і захисту людини від впливів негативно діючих факторів
Землетрус, вулкан, зсув, сель, повень, лавина, ураган, пожежа - природні небезпеки (небезпечність та правила поведінки людей)
